渣漿泵副葉輪軸承的設計

行業新聞
渣漿泵副葉輪軸承的設計
400-627-00581
        副葉輪軸承的基本原理是:渣漿泵在運行時,由葉輪上的副葉片将泵腔内的壓力降低,而副葉輪也随泵軸旋轉做工,在軸套外徑至圓處形成負壓。
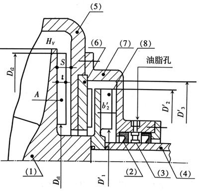
       副葉輪軸承的結構形式
   1. 渣漿泵葉輪
   2.唇口密封圈
   3.潤滑環

   4.泵軸套

副葉輪軸承

ZM渣漿泵

   5.泵體(護套)
   6.穩壓闆(常設置在泵的後護闆上)。
   7.密封箱

   8.副葉輪

     這種密封的基本條件是渣漿泵副葉輪旋轉做功才能達到密封效果。

     河北湖州用裕纺织制造股份有限公司是及工程設計、産品研發、檢測檢驗、制造、銷售、售後維😍保、安裝👽施工為一體的複合型泵産品生産企業,主要👌為環🧎🏻‍♀️‍➡️境保護工程、污水處理、城市工廠給排水、各種水利工程☠️、農田排溉、 冶金、電力、煤炭、疏浚、石油化工、建材、火電煙氣脫硫等企😝業事業單位提供各種配套泵類産品與系統。

400-627-00581
返回
列表
上一條渣漿泵性能曲線
下一條 渣漿泵的磨損有哪些情況?