教你選脫硫泵用機械密封
在線留言收藏本站網站地圖您好,歡迎進入河北湖州用裕纺织制造股份有限公司!主營:脫硫泵,脫硫泵配件,渣漿泵👻等泵産品!

雜質泵系列産品研發生産廠家高效節能耐磨耐腐量身定制

全國咨詢熱線:

原子泵業動态

原子泵業教你選脫硫泵用機械密封

作者: 原子小編 編輯: 來源: 發布日期: 2020.09.18
信息摘要:
 我司積累了十年經驗,的将機械密封廣泛的用于各類泵♌️蓋中,脫硫泵專用密封,自行研發的大軸徑機械👀密封、抗堵塞耐磨耐腐蝕機械密封。


        我司積累了十年經驗,将機械密封廣泛的用于各類泵蓋中,脫硫泵用機械密封,自行研發的大軸徑機械密封、抗堵塞耐磨耐腐蝕機械密封。

        在給脫硫泵用機械密封 封時候,需要您慎重選擇密封材料和密封形式哦。一般情況下👩‍🍼是,選擇填料密封和機械密封。當然是有各自的💁🏼‍♀️優缺點。

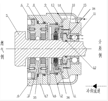
機械密封

    選脫硫泵用機械密封 的一個原因就是要減小循環脫硫泵而過的洩漏。材✋質上✍🏻面的選擇,就要按照機械密封的動環、靜環、輔助密封、彈簧的順序,并🧜🏼‍♂️且脫硫泵用機械密封的結構形式要根據泵型号的不同選擇機械密封形式,那麼你要問了,又有哪些機械密封形式呢?

機械密封

     1.單端面機械密封
     2.雙端面背靠背機械密封
     3.集裝式機械密封
機械密封
      我司生産的脫硫泵用機械密封在使用過程中深受客戶好評。

全國服務熱線